

Renesas CMS82C55AZ
Manufacturer No:
CMS82C55AZ
Manufacturer:
Package:
PLCC
Description:
44 Termination 1.27mm 5V I/O Expander 44 Pin 5V PLCC
Quantity:
Delivery:




Payment:







In Stock :Available
Price not displayed? Please send an RFQ, and we will respond immediately.
CMS82C55AZ information
Renesas CMS82C55AZ technical specifications, attributes, parameters and parts with similar specifications to Renesas CMS82C55AZ.
- Type
- Parameter
- Factory Lead Time
- 8 Weeks
- Mount
- Surface Mount
- Package / Case
- PLCC
- Number of Pins
- 44
- Packaging
- Tape & Reel (TR)
- Published
- 2005
- JESD-609 Code
- e3
- Part Status
- Active
- Moisture Sensitivity Level (MSL)
- 3 (168 Hours)
- Number of Terminations
- 44
- ECCN Code
- EAR99
- Terminal Finish
- Matte Tin (Sn) - annealed
- Max Operating Temperature
- 70°C
- Min Operating Temperature
- 0°C
- HTS Code
- 8542.39.00.01
- Subcategory
- Parallel IO Port
- Technology
- CMOS
- Terminal Position
- QUAD
- Terminal Form
- J BEND
- Peak Reflow Temperature (Cel)
- 260
- Supply Voltage
- 5V
- Terminal Pitch
- 1.27mm
- Time@Peak Reflow Temperature-Max (s)
- 30
- Pin Count
- 44
- Supply Voltage-Max (Vsup)
- 5.5V
- Power Supplies
- 5V
- Temperature Grade
- COMMERCIAL
- Supply Voltage-Min (Vsup)
- 4.5V
- Number of I/O
- 24
- Number of Ports
- 3
- uPs/uCs/Peripheral ICs Type
- PARALLEL IO PORT, GENERAL PURPOSE
- Length
- 16.585mm
- Height Seated (Max)
- 4.57mm
- Width
- 16.585mm
- RoHS Status
- RoHS Compliant
- Lead Free
- Lead Free
Download datasheets and manufacturer documentation for Renesas CMS82C55AZ.
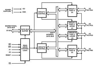
CMS82C55AZ Overview
24 I/Os are programmed into it.PLCC packaging contains the device.Case Tape & Reel (TR) is available.As a whole, it is terminated with 44s.44 is the total number of pins on the part.At 5V, the device provides voltage.To run 260, we use the peak reflow temperature of this part.There are a total of 3 ports on the device.Power can be delivered at 5V.Devices with 44 pins are available.Surface Mount can be used to mount the part.PARALLEL IO PORT, GENERAL PURPOSE uPs/uCs/Peripheral ICs belong to this category.There are several models in the Parallel IO Port series.A maximum operating temperature of 70°C is reached.The minimum working temperature of this device must not be less than 0°C.
CMS82C55AZ Features
CMS82C55AZ Applications
There are a lot of Intersil (Renesas Electronics America)
CMS82C55AZ I/O Expanders applications.
- Antialiasing/Reconstruction Filter
- Single-Ended to Differential Conversion/Ampli?cation
- Low Voltage, Low Noise, Differential Signal Processing
- Common Mode Voltage Translation
- Portable Instrumentation
- Multiprotocol RFID Readers: EPC-GEN2, ISD and IPX
- IDEN, PHS, GSM Basestations
- Repeaters, Radio Links, and Modems
- Wireless Telemetry
- JTRS
User Guide
Please verify all part numbers, quantities, and packaging preferences before placing your order. If substitutions are acceptable, please indicate this clearly. For time-sensitive projects, confirm estimated delivery dates and stock availability in advance. Once submitted, changes or cancellations may not be possible, especially for items marked as non-cancellable/non-returnable (NCNR). For international shipments, please ensure all import documentation is complete and accurate to avoid delays.
MEANS OF PAYMENTFor your convenience, we accept multiple payment methods in USD, including PayPal, Credit Card, and Wire Transfer. Net terms may be available for qualified customers upon approval.
RFQ (REQUEST FOR QUOTATIONS)Please ensure the part numbers and quantities are accurate and complete when submitting your RFQ.
Provide target prices and acceptable alternatives, if any, to speed up the quotation process.
Quotations are subject to stock availability and may vary with market conditions. Prices and lead times are not guaranteed until a purchase order is confirmed. Ensure your contact details are correct to avoid delays in response.

Step1:Prepare product

Step2:Desiccant Protection

Step3:Vacuum Packaging

Step4:Individual Package

Step5:Anti-collision Filling

Step6:Packaging Box
1. Shipping starts at $40, but some countries will exceed $40. For example (South Africa, Brazil, India, Pakistan, Israel, etc.).
2. Some specific products need to reach the minimum order quantity.
3. It may cost additional remote fees for delivery if you are in a remote area.
Currently, our products are shipped through DHL, FedEx, SF, and UPS.
DELIVERY TIME1. Once the goods are shipped, estimated delivery time depends on the shipping methods you chose: FedEx International, 5-7 business days.
2. For in-stock parts, orders normally could be shipped out within 1-2days.
CMS82C55AZ Relevant information
The following parts are popular search parts in Integrated Circuits (ICs).
AIChipLink – Your Trusted Electronic Components Distributor
12.28 M
Listed Part Number3,000+
Leading Manufacturers4.9 M
In-stock SKU15,000+
Warehouse Area(㎡)







