

Renesas ISL23315WFRUZ-TK
Manufacturer No:
ISL23315WFRUZ-TK
Manufacturer:
Package:
QFN
Description:
10 Terminations 3.3V Digital Potentiometers I2C 256 Positions Min 1.7V V Max 5.5V V
Quantity:
Delivery:




Payment:







In Stock :Available
Price not displayed? Please send an RFQ, and we will respond immediately.
ISL23315WFRUZ-TK information
Renesas ISL23315WFRUZ-TK technical specifications, attributes, parameters and parts with similar specifications to Renesas ISL23315WFRUZ-TK.
- Type
- Parameter
- Mount
- Surface Mount
- Package / Case
- QFN
- Number of Pins
- 10
- Packaging
- Tape & Reel
- Published
- 2005
- JESD-609 Code
- e3
- Part Status
- Active
- Moisture Sensitivity Level (MSL)
- 1 (Unlimited)
- Number of Terminations
- 10
- ECCN Code
- EAR99
- Temperature Coefficient
- 175 ppm/°C
- Resistance
- 10kOhm
- Number of Positions
- 256
- Terminal Finish
- MATTE TIN
- Max Operating Temperature
- 125°C
- Min Operating Temperature
- -40°C
- Subcategory
- Digital Potentiometers
- Technology
- CMOS
- Terminal Position
- QUAD
- Peak Reflow Temperature (Cel)
- 260
- Number of Functions
- 1
- Supply Voltage
- 3.3V
- Terminal Pitch
- 0.5mm
- Operating Supply Voltage
- 3.3V
- Interface
- I2C
- Number of Circuits
- 1
- Max Supply Voltage
- 5.5V
- Min Supply Voltage
- 1.7V
- Nominal Supply Current
- 18?A
- Memory Type
- Volatile
- Converter Type
- DIGITAL POTENTIOMETER
- Bandwidth
- 1.2 kHz
- Total Resistance
- 10000Ohm
- Height Seated (Max)
- 0.55mm
- Radiation Hardening
- No
- RoHS Status
- RoHS Compliant
Download datasheets and manufacturer documentation for Renesas ISL23315WFRUZ-TK.
Datasheets:
ISL23315WFRUZ-TK Overview
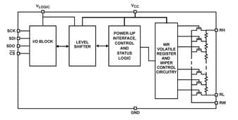
Package QFN contains it.At Volatile, this pentometer is stored for the first time.This digital potentiometer includes 1 embedded circuits.The digital analogic is secured using this package Tape & Reel.256 positions make up the pentometer.A termination of 10 is intended.The following programmable potentiometer includes 1 functions.Based on the picture, the total resistance of the speed potentiometers is 10000Ohm.The performance of the product is powered by 3.3V.Flow can be restricted using 10kOhm.The Surface Mount mounts digital potentiometer.10 pins are present on this potentiameter.It can be classified as a DIGITAL POTENTIOMETER converter.Potentiometers conduct when the supply voltage is 3.3V.It ensures stability of the digital resistor if it runs at its maximum 125°C.The temperature must be kept below -40°C in order to maintain reliability.Digital Potentiometers is the family of the pentometer.5.5V is the maximum voltage that it can handle.In order to function, the supply voltage must be at least 0.
ISL23315WFRUZ-TK Features
Available in QFN package
1 Circuits
10 pins
Operate supply voltage at the range of 3.3V
ISL23315WFRUZ-TK Applications
There are a lot of Intersil (Renesas Electronics America)
ISL23315WFRUZ-TK Digital Potentiometers applications.
- Refrigerator
- Programmable computer
- Power supply
- Power meter
- Automatic detection of equipment
- Optic fiber network
- Adjusting the LCD Display
- Voltage control
- Replaces mechanical potentiometers
- Matching Linear Impedance
User Guide
Please verify all part numbers, quantities, and packaging preferences before placing your order. If substitutions are acceptable, please indicate this clearly. For time-sensitive projects, confirm estimated delivery dates and stock availability in advance. Once submitted, changes or cancellations may not be possible, especially for items marked as non-cancellable/non-returnable (NCNR). For international shipments, please ensure all import documentation is complete and accurate to avoid delays.
MEANS OF PAYMENTFor your convenience, we accept multiple payment methods in USD, including PayPal, Credit Card, and Wire Transfer. Net terms may be available for qualified customers upon approval.
RFQ (REQUEST FOR QUOTATIONS)Please ensure the part numbers and quantities are accurate and complete when submitting your RFQ.
Provide target prices and acceptable alternatives, if any, to speed up the quotation process.
Quotations are subject to stock availability and may vary with market conditions. Prices and lead times are not guaranteed until a purchase order is confirmed. Ensure your contact details are correct to avoid delays in response.

Step1:Prepare product

Step2:Desiccant Protection

Step3:Vacuum Packaging

Step4:Individual Package

Step5:Anti-collision Filling

Step6:Packaging Box
1. Shipping starts at $40, but some countries will exceed $40. For example (South Africa, Brazil, India, Pakistan, Israel, etc.).
2. Some specific products need to reach the minimum order quantity.
3. It may cost additional remote fees for delivery if you are in a remote area.
Currently, our products are shipped through DHL, FedEx, SF, and UPS.
DELIVERY TIME1. Once the goods are shipped, estimated delivery time depends on the shipping methods you chose: FedEx International, 5-7 business days.
2. For in-stock parts, orders normally could be shipped out within 1-2days.
ISL23315WFRUZ-TK Relevant information
The following parts are popular search parts in Integrated Circuits (ICs).
AIChipLink – Your Trusted Electronic Components Distributor
12.28 M
Listed Part Number3,000+
Leading Manufacturers4.9 M
In-stock SKU15,000+
Warehouse Area(㎡)




