

Renesas ISL88042IRTEEZ-TK
Manufacturer No:
ISL88042IRTEEZ-TK
Manufacturer:
Package:
Description:
5V 8 Terminals 8-Pin Voltage supervisor 4 Channels Min 2V Max 5.5V
Quantity:
Delivery:




Payment:







In Stock :Available
Price not displayed? Please send an RFQ, and we will respond immediately.
ISL88042IRTEEZ-TK information
Renesas ISL88042IRTEEZ-TK technical specifications, attributes, parameters and parts with similar specifications to Renesas ISL88042IRTEEZ-TK.
- Type
- Parameter
- Factory Lead Time
- 21 Weeks
- Mount
- Surface Mount
- Number of Pins
- 8
- Packaging
- Tape & Reel
- Published
- 2004
- JESD-609 Code
- e3
- Part Status
- Active
- Moisture Sensitivity Level (MSL)
- 1 (Unlimited)
- Number of Terminations
- 8
- ECCN Code
- EAR99
- Type
- Multi-Voltage Supervisor
- Terminal Finish
- Matte Tin (Sn) - annealed
- Max Operating Temperature
- 85°C
- Min Operating Temperature
- -40°C
- Subcategory
- Power Management Circuits
- Terminal Position
- DUAL
- Peak Reflow Temperature (Cel)
- 260
- Number of Functions
- 1
- Supply Voltage
- 5V
- Terminal Pitch
- 0.5mm
- Pin Count
- 8
- Power Supplies
- 2.5/5V
- Temperature Grade
- INDUSTRIAL
- Number of Channels
- 4
- Min Supply Voltage
- 2V
- Operating Supply Current
- 22μA
- Max Supply Current
- 22μA
- Adjustable Threshold
- YES
- Reset
- Active Low
- Voltage - Threshold
- 2.957V
- Reset Timeout
- 40 ms
- Threshold Voltage
- +2.87V
- Undervoltage Threshold
- 2.815V
- Overvoltage Threshold
- 3.009V
- Number of Monitored Inputs
- 4
- Length
- 3mm
- Width
- 2mm
- Radiation Hardening
- No
- RoHS Status
- RoHS Compliant
Download datasheets and manufacturer documentation for Renesas ISL88042IRTEEZ-TK.
Datasheets:
ISL88042IRTEEZ-TK Overview
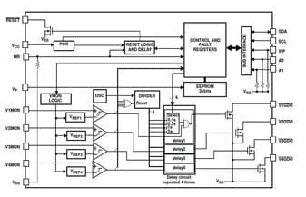
There are 8 mounting terminals on the voltage supervisor, each of which has a different function. Tape & Reel-packaging is used. The purpose of this IC management is to provide you with a reference of 1 functions. There are 4 channels on this power managment ic that can be found in a series. There are a lot of similarities between this IC power and other Multi-Voltage Supervisor products. As specified in the package specification, the peak reflow temperature of the package is set at 260. When a supply voltage of 5V is applied to the power ic, it conducts. Surface Mount mounts power management on the wall. The power management belongs to the Power Management Circuits subcategory. A total of 8 pins are located on this power management. 8 pins are present on the power management system. It is recommended that the minimum supply voltage (Vsup) for this IC management should not be less than 2V volts. This IC power should be powered by no more than 5.5V volts of supply voltage (Vsup). For this power management, there is an 22μA volt supply current. The voltage supervisor requires a power source of 2.5/5V volts in order to work correctly. The maximum supply temperature voltage supervisor can handle is 22μA. The power management has 4 monitored inputs.
ISL88042IRTEEZ-TK Features
Multi-Voltage Supervisor type
Minimum supply voltage of 2V
22μA operating supply current
ISL88042IRTEEZ-TK Applications
There are a lot of Intersil (Renesas Electronics America)
ISL88042IRTEEZ-TK Voltage Supervisors applications.
- Transformer load monitoring equipment
- External alarm
- Display equipment
- DC stabilized power supply module
- Insulation fault location system
- Magnetic resonance imaging
- Stable power system
- Sensitive sensors
- Efficient information transmission
- Functional modules
User Guide
Please verify all part numbers, quantities, and packaging preferences before placing your order. If substitutions are acceptable, please indicate this clearly. For time-sensitive projects, confirm estimated delivery dates and stock availability in advance. Once submitted, changes or cancellations may not be possible, especially for items marked as non-cancellable/non-returnable (NCNR). For international shipments, please ensure all import documentation is complete and accurate to avoid delays.
MEANS OF PAYMENTFor your convenience, we accept multiple payment methods in USD, including PayPal, Credit Card, and Wire Transfer. Net terms may be available for qualified customers upon approval.
RFQ (REQUEST FOR QUOTATIONS)Please ensure the part numbers and quantities are accurate and complete when submitting your RFQ.
Provide target prices and acceptable alternatives, if any, to speed up the quotation process.
Quotations are subject to stock availability and may vary with market conditions. Prices and lead times are not guaranteed until a purchase order is confirmed. Ensure your contact details are correct to avoid delays in response.

Step1:Prepare product

Step2:Desiccant Protection

Step3:Vacuum Packaging

Step4:Individual Package

Step5:Anti-collision Filling

Step6:Packaging Box
1. Shipping starts at $40, but some countries will exceed $40. For example (South Africa, Brazil, India, Pakistan, Israel, etc.).
2. Some specific products need to reach the minimum order quantity.
3. It may cost additional remote fees for delivery if you are in a remote area.
Currently, our products are shipped through DHL, FedEx, SF, and UPS.
DELIVERY TIME1. Once the goods are shipped, estimated delivery time depends on the shipping methods you chose: FedEx International, 5-7 business days.
2. For in-stock parts, orders normally could be shipped out within 1-2days.
ISL88042IRTEEZ-TK Relevant information
The following parts are popular search parts in Integrated Circuits (ICs).
AIChipLink – Your Trusted Electronic Components Distributor
12.28 M
Listed Part Number3,000+
Leading Manufacturers4.9 M
In-stock SKU15,000+
Warehouse Area(㎡)



.png&w=256&q=75)




