

Renesas ISL95710UIU10Z
Manufacturer No:
ISL95710UIU10Z
Manufacturer:
Package:
MSOP
Description:
10 Terminations 3.3V 10 Pin Digital Potentiometers Serial 128 Positions Min -2.7V V Max -5.5V V
Quantity:
Delivery:




Payment:







In Stock :Available
Price not displayed? Please send an RFQ, and we will respond immediately.
ISL95710UIU10Z information
Renesas ISL95710UIU10Z technical specifications, attributes, parameters and parts with similar specifications to Renesas ISL95710UIU10Z.
- Type
- Parameter
- Mount
- Surface Mount
- Package / Case
- MSOP
- Number of Pins
- 10
- Published
- 2004
- Tolerance
- 20%
- JESD-609 Code
- e3
- Part Status
- Active
- Moisture Sensitivity Level (MSL)
- 1 (Unlimited)
- Number of Terminations
- 10
- ECCN Code
- EAR99
- Temperature Coefficient
- 50 ppm/°C
- Resistance
- 50kOhm
- Number of Positions
- 128
- Terminal Finish
- Matte Tin (Sn) - annealed
- Max Operating Temperature
- 85°C
- Min Operating Temperature
- -40°C
- Subcategory
- Digital Potentiometers
- Technology
- CMOS
- Terminal Position
- DUAL
- Terminal Form
- GULL WING
- Peak Reflow Temperature (Cel)
- 260
- Number of Functions
- 1
- Supply Voltage
- 3.3V
- Terminal Pitch
- 0.5mm
- Pin Count
- 10
- Power Supplies
- +-3.3/+-5V
- Temperature Grade
- INDUSTRIAL
- Interface
- Serial
- Number of Circuits
- 1
- Max Supply Voltage
- -5.5V
- Min Supply Voltage
- -2.7V
- Operating Supply Current
- -100?A
- Memory Type
- Non-Volatile
- Converter Type
- DIGITAL POTENTIOMETER
- Taper
- Linear
- Total Resistance
- 50000Ohm
- Length
- 3mm
- Width
- 3mm
- Radiation Hardening
- No
- RoHS Status
- RoHS Compliant
- Lead Free
- Lead Free
Download datasheets and manufacturer documentation for Renesas ISL95710UIU10Z.
Datasheets:
ISL95710UIU10Z Overview
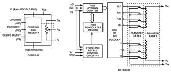
The package contains MSOP files.By Non-Volatile, this pentometer begins to be stored.This digital potentiometer contains 1 embedded circuits.There are 128 positions in pentometer.The terminations are 10.For your reference, this programmable potentiometer contains 1 functions.The speed potentiometers will have a total resistance of 50000Ohm.To deliver its performance, it is powered by 3.3V.The digi devices show 10 pins.The flow can be limited by 50kOhm.Surface Mount mounts digital potentiometer.There are 10 pins on this potentiameter.The type of converter it is can be classified as DIGITAL POTENTIOMETER.Voltage can be delivered at +-3.3/+-5V.Stability is ensured by the maximum 85°C.The minimum working temperature is -40°C in order to maintain reliability.The pentometer belong to the Digital Potentiometers family.A maximum supply voltage of -5.5V can be handled by it.The minimum supply voltage is -2.7V.The supply current must be operated at -100?A in order to deliver its performance.
ISL95710UIU10Z Features
Available in MSOP package
1 Circuits
10 pins
ISL95710UIU10Z Applications
There are a lot of Intersil (Renesas Electronics America)
ISL95710UIU10Z Digital Potentiometers applications.
- PC
- Cell phone
- Household appliances
- Modern office equipment
- Industrial control
- Medical equipment
- Refrigerator
- Programmable computer
- Power supply
- Power meter
User Guide
Please verify all part numbers, quantities, and packaging preferences before placing your order. If substitutions are acceptable, please indicate this clearly. For time-sensitive projects, confirm estimated delivery dates and stock availability in advance. Once submitted, changes or cancellations may not be possible, especially for items marked as non-cancellable/non-returnable (NCNR). For international shipments, please ensure all import documentation is complete and accurate to avoid delays.
MEANS OF PAYMENTFor your convenience, we accept multiple payment methods in USD, including PayPal, Credit Card, and Wire Transfer. Net terms may be available for qualified customers upon approval.
RFQ (REQUEST FOR QUOTATIONS)Please ensure the part numbers and quantities are accurate and complete when submitting your RFQ.
Provide target prices and acceptable alternatives, if any, to speed up the quotation process.
Quotations are subject to stock availability and may vary with market conditions. Prices and lead times are not guaranteed until a purchase order is confirmed. Ensure your contact details are correct to avoid delays in response.

Step1:Prepare product

Step2:Desiccant Protection

Step3:Vacuum Packaging

Step4:Individual Package

Step5:Anti-collision Filling

Step6:Packaging Box
1. Shipping starts at $40, but some countries will exceed $40. For example (South Africa, Brazil, India, Pakistan, Israel, etc.).
2. Some specific products need to reach the minimum order quantity.
3. It may cost additional remote fees for delivery if you are in a remote area.
Currently, our products are shipped through DHL, FedEx, SF, and UPS.
DELIVERY TIME1. Once the goods are shipped, estimated delivery time depends on the shipping methods you chose: FedEx International, 5-7 business days.
2. For in-stock parts, orders normally could be shipped out within 1-2days.
ISL95710UIU10Z Relevant information
The following parts are popular search parts in Integrated Circuits (ICs).
AIChipLink – Your Trusted Electronic Components Distributor
12.28 M
Listed Part Number3,000+
Leading Manufacturers4.9 M
In-stock SKU15,000+
Warehouse Area(㎡)






