

Renesas ISL95810UIRT8Z-T
Manufacturer No:
ISL95810UIRT8Z-T
Manufacturer:
Package:
Description:
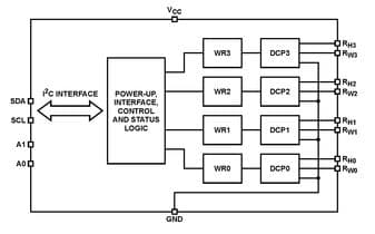
8 Terminations 3.3V 8, 8 Pin Digital Potentiometers I2C 256 Positions Min 2.7V V Max 5.5V V
Quantity:
Delivery:




Payment:







In Stock :Available
Price not displayed? Please send an RFQ, and we will respond immediately.
ISL95810UIRT8Z-T information
Renesas ISL95810UIRT8Z-T technical specifications, attributes, parameters and parts with similar specifications to Renesas ISL95810UIRT8Z-T.
- Type
- Parameter
- Factory Lead Time
- 5 Weeks
- Mount
- Surface Mount
- Published
- 2004
- JESD-609 Code
- e3
- Part Status
- Active
- Moisture Sensitivity Level (MSL)
- 1 (Unlimited)
- Number of Terminations
- 8
- ECCN Code
- EAR99
- Temperature Coefficient
- 45 ppm/°C
- Resistance
- 50kOhm
- Number of Positions
- 256
- Terminal Finish
- Matte Tin (Sn) - annealed
- Max Operating Temperature
- 85°C
- Min Operating Temperature
- -40°C
- Subcategory
- Digital Potentiometers
- Technology
- CMOS
- Terminal Position
- DUAL
- Peak Reflow Temperature (Cel)
- 260
- Number of Functions
- 1
- Supply Voltage
- 3.3V
- Terminal Pitch
- 0.65mm
- Time@Peak Reflow Temperature-Max (s)
- 30
- Pin Count
- 8, 8
- JESD-30 Code
- S-PDSO-N8
- Power Supplies
- 3/5V
- Temperature Grade
- INDUSTRIAL
- Interface
- I2C
- Number of Circuits
- 1
- Max Supply Voltage
- 5.5V
- Min Supply Voltage
- 2.7V
- Operating Supply Current
- 1mA
- Memory Type
- Non-Volatile
- Converter Type
- DIGITAL POTENTIOMETER
- Taper
- Linear
- Total Resistance
- 50000Ohm
- Length
- 3mm
- Height Seated (Max)
- 0.8mm
- Width
- 3mm
- Radiation Hardening
- No
- RoHS Status
- RoHS Compliant
Download datasheets and manufacturer documentation for Renesas ISL95810UIRT8Z-T.
Datasheets:
ISL95810UIRT8Z-T Overview
The pentometer is stored from Non-Volatile.In this digital potentiometer, there are 1 embedded circuits.There are 256 positions in pentometer.This termination is designed for 8.In this programmable potentiometer, you will find 1 functions.As shown, the total resistance of the speed potentiometers will be 50000Ohm.In order for it to perform, it relies on 3.3V.The digi devices has 8, 8 pins.It is possible to limit the flow with 50kOhm.The mount is Surface Mount.A converter of this type can be categorized as DIGITAL POTENTIOMETER.When the potentiometer is supplied with 3.3V voltage, it conducts.A voltage of 3/5V can be delivered by it.As long as 85°C is set, the digital resistor will run steadily.A minimum working temperature of -40°C is necessary for reliability.Digital Potentiometers family components are used in the pentometer.Voltages up to 5.5V can be supplied to it.2.7V is the minimum supply voltage that it can work with.Optimal performance can be achieved by operating the supply current in the 1mA range.
ISL95810UIRT8Z-T Features
1 Circuits
Operate supply voltage at the range of 3.3V
ISL95810UIRT8Z-T Applications
There are a lot of Intersil (Renesas Electronics America)
ISL95810UIRT8Z-T Digital Potentiometers applications.
- Household appliances
- Modern office equipment
- Industrial control
- Medical equipment
- Refrigerator
- Programmable computer
- Power supply
- Power meter
- Automatic detection of equipment
- Optic fiber network
User Guide
Please verify all part numbers, quantities, and packaging preferences before placing your order. If substitutions are acceptable, please indicate this clearly. For time-sensitive projects, confirm estimated delivery dates and stock availability in advance. Once submitted, changes or cancellations may not be possible, especially for items marked as non-cancellable/non-returnable (NCNR). For international shipments, please ensure all import documentation is complete and accurate to avoid delays.
MEANS OF PAYMENTFor your convenience, we accept multiple payment methods in USD, including PayPal, Credit Card, and Wire Transfer. Net terms may be available for qualified customers upon approval.
RFQ (REQUEST FOR QUOTATIONS)Please ensure the part numbers and quantities are accurate and complete when submitting your RFQ.
Provide target prices and acceptable alternatives, if any, to speed up the quotation process.
Quotations are subject to stock availability and may vary with market conditions. Prices and lead times are not guaranteed until a purchase order is confirmed. Ensure your contact details are correct to avoid delays in response.

Step1:Prepare product

Step2:Desiccant Protection

Step3:Vacuum Packaging

Step4:Individual Package

Step5:Anti-collision Filling

Step6:Packaging Box
1. Shipping starts at $40, but some countries will exceed $40. For example (South Africa, Brazil, India, Pakistan, Israel, etc.).
2. Some specific products need to reach the minimum order quantity.
3. It may cost additional remote fees for delivery if you are in a remote area.
Currently, our products are shipped through DHL, FedEx, SF, and UPS.
DELIVERY TIME1. Once the goods are shipped, estimated delivery time depends on the shipping methods you chose: FedEx International, 5-7 business days.
2. For in-stock parts, orders normally could be shipped out within 1-2days.
ISL95810UIRT8Z-T Relevant information
The following parts are popular search parts in Integrated Circuits (ICs).
AIChipLink – Your Trusted Electronic Components Distributor
12.28 M
Listed Part Number3,000+
Leading Manufacturers4.9 M
In-stock SKU15,000+
Warehouse Area(㎡)



.png&w=256&q=75)


