

Renesas TW6872-NA1-CR
Manufacturer No:
TW6872-NA1-CR
Manufacturer:
Package:
QFN
Description:
QUAD Buffers 76 Pins QFN
Quantity:
Delivery:




Payment:







In Stock :Available
Price not displayed? Please send an RFQ, and we will respond immediately.
TW6872-NA1-CR information
Renesas TW6872-NA1-CR technical specifications, attributes, parameters and parts with similar specifications to Renesas TW6872-NA1-CR.
- Type
- Parameter
- Factory Lead Time
- 8 Weeks
- Mount
- Surface Mount
- Package / Case
- QFN
- Published
- 2013
- Number of Terminations
- 76
- Additional Feature
- ALSO REQUIRES DIGITAL CORE SUPPLY VOLTAGE 0.9V TO 1.1V
- Terminal Position
- QUAD
- Terminal Form
- NO LEAD
- Number of Functions
- 1
- Terminal Pitch
- 0.4mm
- Pin Count
- 76
- JESD-30 Code
- S-PQCC-N76
- Operating Temperature (Max)
- 85°C
- Operating Temperature (Min)
- -40°C
- Supply Voltage-Max (Vsup)
- 3.6V
- Temperature Grade
- INDUSTRIAL
- Supply Voltage-Min (Vsup)
- 3V
- Consumer IC Type
- CONSUMER CIRCUIT
- Length
- 9mm
- Height Seated (Max)
- 0.9mm
- Width
- 9mm
- RoHS Status
- RoHS Compliant
- Lead Free
- Lead Free
Download datasheets and manufacturer documentation for Renesas TW6872-NA1-CR.
Datasheets:
TW6872-NA1-CR Overview
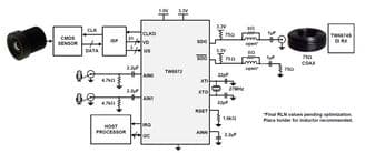
It utilizes a neat QFN package. 76 terminations are provided by this buffer. With the electrical component, there are 76 pins. In total, it can be used for Surface Mount different purposes. Depending on the transceiver, a voltage of 3V is required to supply the device with electricity. In order to better meet the needs, network transceiver includes ALSO REQUIRES DIGITAL CORE SUPPLY VOLTAGE 0.9V TO 1.1V. Buffers are capable of working in an ambient temperature range as high as 85°C. Temperature -40°C should be the bottom for the electrical part.
TW6872-NA1-CR Features
ALSO REQUIRES DIGITAL CORE SUPPLY VOLTAGE 0.9V TO 1.1V
TW6872-NA1-CR Applications
There are a lot of Intersil (Renesas Electronics America)
TW6872-NA1-CR Buffers & Transceivers applications.
- Desktop PC
- Notebook
- Pocket PC
- Desktop radio
- Clock radio
- Tuner
- Portable radio
- Car radio
- Satellite radio receiver
- Shortwave receiver
User Guide
Please verify all part numbers, quantities, and packaging preferences before placing your order. If substitutions are acceptable, please indicate this clearly. For time-sensitive projects, confirm estimated delivery dates and stock availability in advance. Once submitted, changes or cancellations may not be possible, especially for items marked as non-cancellable/non-returnable (NCNR). For international shipments, please ensure all import documentation is complete and accurate to avoid delays.
MEANS OF PAYMENTFor your convenience, we accept multiple payment methods in USD, including PayPal, Credit Card, and Wire Transfer. Net terms may be available for qualified customers upon approval.
RFQ (REQUEST FOR QUOTATIONS)Please ensure the part numbers and quantities are accurate and complete when submitting your RFQ.
Provide target prices and acceptable alternatives, if any, to speed up the quotation process.
Quotations are subject to stock availability and may vary with market conditions. Prices and lead times are not guaranteed until a purchase order is confirmed. Ensure your contact details are correct to avoid delays in response.

Step1:Prepare product

Step2:Desiccant Protection

Step3:Vacuum Packaging

Step4:Individual Package

Step5:Anti-collision Filling

Step6:Packaging Box
1. Shipping starts at $40, but some countries will exceed $40. For example (South Africa, Brazil, India, Pakistan, Israel, etc.).
2. Some specific products need to reach the minimum order quantity.
3. It may cost additional remote fees for delivery if you are in a remote area.
Currently, our products are shipped through DHL, FedEx, SF, and UPS.
DELIVERY TIME1. Once the goods are shipped, estimated delivery time depends on the shipping methods you chose: FedEx International, 5-7 business days.
2. For in-stock parts, orders normally could be shipped out within 1-2days.
TW6872-NA1-CR Relevant information
The following parts are popular search parts in Integrated Circuits (ICs).
AIChipLink – Your Trusted Electronic Components Distributor
12.28 M
Listed Part Number3,000+
Leading Manufacturers4.9 M
In-stock SKU15,000+
Warehouse Area(㎡)





.png&w=256&q=75)

