

Renesas X40020S14Z-BT1
Manufacturer No:
X40020S14Z-BT1
Manufacturer:
Package:
SOIC
Description:
3V 14 Terminals 14-Pin Voltage supervisor 2 Channels Min 2.6V Max 5.5V
Quantity:
Delivery:




Payment:







In Stock :Available
Price not displayed? Please send an RFQ, and we will respond immediately.
X40020S14Z-BT1 information
Renesas X40020S14Z-BT1 technical specifications, attributes, parameters and parts with similar specifications to Renesas X40020S14Z-BT1.
- Type
- Parameter
- Mount
- Surface Mount
- Package / Case
- SOIC
- Number of Pins
- 14
- Packaging
- Tape & Reel (TR)
- Published
- 2005
- JESD-609 Code
- e3
- Part Status
- Active
- Moisture Sensitivity Level (MSL)
- 3 (168 Hours)
- Number of Terminations
- 14
- ECCN Code
- EAR99
- Type
- Multi-Voltage Supervisor
- Terminal Finish
- Matte Tin (Sn) - annealed
- Max Operating Temperature
- 70°C
- Min Operating Temperature
- 0°C
- Technology
- CMOS
- Terminal Position
- DUAL
- Terminal Form
- GULL WING
- Peak Reflow Temperature (Cel)
- 260
- Number of Functions
- 1
- Supply Voltage
- 3V
- Time@Peak Reflow Temperature-Max (s)
- 40
- Pin Count
- 14
- Qualification Status
- Not Qualified
- Temperature Grade
- COMMERCIAL
- Max Supply Voltage
- 5.5V
- Min Supply Voltage
- 2.6V
- Operating Supply Current
- 3mA
- Max Supply Current
- 3mA
- Adjustable Threshold
- YES
- Watchdog Timer
- Yes
- Reset
- Active High
- Voltage - Threshold
- 4.6V
- Undervoltage Threshold
- 2.55V
- Overvoltage Threshold
- 2.65V
- Number of Monitored Inputs
- 2
- Width
- 3.9116mm
- RoHS Status
- RoHS Compliant
Download datasheets and manufacturer documentation for Renesas X40020S14Z-BT1.
X40020S14Z-BT1 Overview
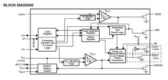
As you can see, this power management is mounted through 14 terminals. There is a Tape & Reel (TR)-packaging method applied to IC management. To assist you, this IC power includes 1 functions. There are 2 channels available on this supervisor, and each channel has a different function. To assist you, this PMIC includes SOIC functions. It is a IC power that shares many benefits with other products from the Multi-Voltage Supervisor line. According to the specification, the package's peak reflow temperature is specified to be 260. When 3V is applied to the power ic, it conducts. The mount is attached to Surface Mount. It has a total of 14 pins that are attached to IC management. This power management has 14 pins. Supply voltage (Vsup) should be at least 2.6V for this power management. During this IC power, the maximum supply voltage (Vsup) should not exceed 5.5V volts. There is a 3mA supply current present in the power management. If you want to work with PMIC chip, you will need to supply PMIC chip with a temperature at least of 3mA. On the supervisor, a total of 2 inputs are monitored as IC management of its monitoring system.
X40020S14Z-BT1 Features
Multi-Voltage Supervisor type
Minimum supply voltage of 2.6V
3mA operating supply current
X40020S14Z-BT1 Applications
There are a lot of Intersil (Renesas Electronics America)
X40020S14Z-BT1 Voltage Supervisors applications.
- emergency room
- Medical-specific isolation transformer
- Medical-specific insulation monitor
- Transformer load monitoring equipment
- External alarm
- Display equipment
- DC stabilized power supply module
- Insulation fault location system
- Magnetic resonance imaging
- Stable power system
User Guide
Please verify all part numbers, quantities, and packaging preferences before placing your order. If substitutions are acceptable, please indicate this clearly. For time-sensitive projects, confirm estimated delivery dates and stock availability in advance. Once submitted, changes or cancellations may not be possible, especially for items marked as non-cancellable/non-returnable (NCNR). For international shipments, please ensure all import documentation is complete and accurate to avoid delays.
MEANS OF PAYMENTFor your convenience, we accept multiple payment methods in USD, including PayPal, Credit Card, and Wire Transfer. Net terms may be available for qualified customers upon approval.
RFQ (REQUEST FOR QUOTATIONS)Please ensure the part numbers and quantities are accurate and complete when submitting your RFQ.
Provide target prices and acceptable alternatives, if any, to speed up the quotation process.
Quotations are subject to stock availability and may vary with market conditions. Prices and lead times are not guaranteed until a purchase order is confirmed. Ensure your contact details are correct to avoid delays in response.

Step1:Prepare product

Step2:Desiccant Protection

Step3:Vacuum Packaging

Step4:Individual Package

Step5:Anti-collision Filling

Step6:Packaging Box
1. Shipping starts at $40, but some countries will exceed $40. For example (South Africa, Brazil, India, Pakistan, Israel, etc.).
2. Some specific products need to reach the minimum order quantity.
3. It may cost additional remote fees for delivery if you are in a remote area.
Currently, our products are shipped through DHL, FedEx, SF, and UPS.
DELIVERY TIME1. Once the goods are shipped, estimated delivery time depends on the shipping methods you chose: FedEx International, 5-7 business days.
2. For in-stock parts, orders normally could be shipped out within 1-2days.
X40020S14Z-BT1 Relevant information
The following parts are popular search parts in Integrated Circuits (ICs).
AIChipLink – Your Trusted Electronic Components Distributor
12.28 M
Listed Part Number3,000+
Leading Manufacturers4.9 M
In-stock SKU15,000+
Warehouse Area(㎡)





.png&w=256&q=75)


