

Renesas X5163PZ
Manufacturer No:
X5163PZ
Manufacturer:
Package:
PDIP
Description:
5V 8 Terminals Voltage supervisor 1 Channels Min 4.5V Max 5.5V
Quantity:
Delivery:




Payment:







In Stock :Available
Price not displayed? Please send an RFQ, and we will respond immediately.
X5163PZ information
Renesas X5163PZ technical specifications, attributes, parameters and parts with similar specifications to Renesas X5163PZ.
- Type
- Parameter
- Mount
- Through Hole
- Package / Case
- PDIP
- Number of Pins
- 8
- Published
- 2005
- JESD-609 Code
- e3
- Part Status
- Active
- Number of Terminations
- 8
- ECCN Code
- EAR99
- Type
- Simple Reset/Power-On Reset
- Terminal Finish
- Matte Tin (Sn) - annealed
- Max Operating Temperature
- 70°C
- Min Operating Temperature
- 0°C
- Terminal Position
- DUAL
- Peak Reflow Temperature (Cel)
- NOT APPLICABLE
- Number of Functions
- 1
- Supply Voltage
- 5V
- Terminal Pitch
- 2.54mm
- Time@Peak Reflow Temperature-Max (s)
- NOT APPLICABLE
- Qualification Status
- Not Qualified
- Temperature Grade
- COMMERCIAL
- Number of Channels
- 1
- Max Supply Voltage
- 5.5V
- Min Supply Voltage
- 4.5V
- Operating Supply Current
- 5mA
- Adjustable Threshold
- YES
- Watchdog Timer
- Yes
- Reset
- Active Low
- Voltage - Threshold
- 4.38V
- Reset Timeout
- 100 ms
- Min Reset Threshold Voltage
- 4.25V
- Undervoltage Threshold
- 4.25V
- Overvoltage Threshold
- 4.5V
- Number of Monitored Inputs
- 1
- Reset Delay Time
- 280 ms
- Length
- 9.525mm
- Height Seated (Max)
- 5.334mm
- Width
- 7.62mm
- RoHS Status
- RoHS Compliant
Download datasheets and manufacturer documentation for Renesas X5163PZ.
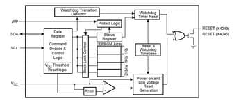
X5163PZ Overview
Power management is mounted through 8 terminals. Power management is possible to find a series of 1 functions. A series of 1 channels can be found on this supervisor. IC management is packaged as a PDIP package. This IC power shares lots of benefits with other Simple Reset/Power-On Reset products. The package peak reflow temperature is specified to be NOT APPLICABLE. The supervisor is always powered by a 5V volt supply. Power management is included in the Through Hole mount. The pins of the power management system count 8. IC management can only work with a supply voltage of 4.5V volts. In this PMIC, the maximum supply voltage (Vsup) should not exceed 5.5V volts. The supervisor's supply current is specified to 5mA. Voltage supervisor can work with a supply temperature of 5mA at the most. There are a total of 1 monitored inputs on the power management.
X5163PZ Features
Simple Reset/Power-On Reset type
Minimum supply voltage of 4.5V
5mA operating supply current
X5163PZ Applications
There are a lot of Intersil (Renesas Electronics America)
X5163PZ Voltage Supervisors applications.
- Power distribution systems of operating room
- Power distribution systems of infant care room
- Power distribution systems of ICU
- Power distribution systems of CCU
- emergency room
- Medical-specific isolation transformer
- Medical-specific insulation monitor
- Transformer load monitoring equipment
- External alarm
- Display equipment
User Guide
Please verify all part numbers, quantities, and packaging preferences before placing your order. If substitutions are acceptable, please indicate this clearly. For time-sensitive projects, confirm estimated delivery dates and stock availability in advance. Once submitted, changes or cancellations may not be possible, especially for items marked as non-cancellable/non-returnable (NCNR). For international shipments, please ensure all import documentation is complete and accurate to avoid delays.
MEANS OF PAYMENTFor your convenience, we accept multiple payment methods in USD, including PayPal, Credit Card, and Wire Transfer. Net terms may be available for qualified customers upon approval.
RFQ (REQUEST FOR QUOTATIONS)Please ensure the part numbers and quantities are accurate and complete when submitting your RFQ.
Provide target prices and acceptable alternatives, if any, to speed up the quotation process.
Quotations are subject to stock availability and may vary with market conditions. Prices and lead times are not guaranteed until a purchase order is confirmed. Ensure your contact details are correct to avoid delays in response.

Step1:Prepare product

Step2:Desiccant Protection

Step3:Vacuum Packaging

Step4:Individual Package

Step5:Anti-collision Filling

Step6:Packaging Box
1. Shipping starts at $40, but some countries will exceed $40. For example (South Africa, Brazil, India, Pakistan, Israel, etc.).
2. Some specific products need to reach the minimum order quantity.
3. It may cost additional remote fees for delivery if you are in a remote area.
Currently, our products are shipped through DHL, FedEx, SF, and UPS.
DELIVERY TIME1. Once the goods are shipped, estimated delivery time depends on the shipping methods you chose: FedEx International, 5-7 business days.
2. For in-stock parts, orders normally could be shipped out within 1-2days.
X5163PZ Relevant information
The following parts are popular search parts in Integrated Circuits (ICs).
AIChipLink – Your Trusted Electronic Components Distributor
12.28 M
Listed Part Number3,000+
Leading Manufacturers4.9 M
In-stock SKU15,000+
Warehouse Area(㎡)


.png&w=256&q=75)





