

Renesas X9313WMZ-3
Manufacturer No:
X9313WMZ-3
Manufacturer:
Package:
MSOP
Description:
8 Terminations 3V Digital Potentiometers Serial 32 Positions Min 3V V Max 5.5V V
Quantity:
Delivery:




Payment:







In Stock :Available
Price not displayed? Please send an RFQ, and we will respond immediately.
X9313WMZ-3 information
Renesas X9313WMZ-3 technical specifications, attributes, parameters and parts with similar specifications to Renesas X9313WMZ-3.
- Type
- Parameter
- Factory Lead Time
- 22 Weeks
- Mount
- Surface Mount
- Package / Case
- MSOP
- Number of Pins
- 8
- Packaging
- Bulk
- Published
- 2005
- Tolerance
- 20%
- JESD-609 Code
- e3
- Part Status
- Active
- Moisture Sensitivity Level (MSL)
- 2 (1 Year)
- Number of Terminations
- 8
- ECCN Code
- EAR99
- Temperature Coefficient
- 300 ppm/°C
- Resistance
- 10kOhm
- Number of Positions
- 32
- Terminal Finish
- Matte Tin (Sn) - annealed
- Max Operating Temperature
- 70°C
- Min Operating Temperature
- 0°C
- Subcategory
- Digital Potentiometers
- Technology
- CMOS
- Terminal Position
- DUAL
- Terminal Form
- GULL WING
- Peak Reflow Temperature (Cel)
- 260
- Number of Functions
- 1
- Terminal Pitch
- 0.65mm
- Time@Peak Reflow Temperature-Max (s)
- 40
- Operating Supply Voltage
- 5V
- Temperature Grade
- COMMERCIAL
- Interface
- Serial
- Number of Circuits
- 1
- Max Supply Voltage
- 5.5V
- Min Supply Voltage
- 3V
- Operating Supply Current
- 1mA
- Memory Type
- Non-Volatile
- Converter Type
- DIGITAL POTENTIOMETER
- Taper
- Linear
- Total Resistance
- 10000Ohm
- Resistor Terminal Voltage-Max
- 3V
- Length
- 3mm
- Width
- 3mm
- Radiation Hardening
- No
- RoHS Status
- RoHS Compliant
- Lead Free
- Lead Free
Download datasheets and manufacturer documentation for Renesas X9313WMZ-3.
Datasheets:
X9313WMZ-3 Overview
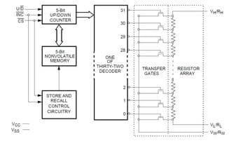
A package containing MSOP files contains it.Non-Volatile indicates the beginning of storage for this pentometer.This digital potentiometer contains 1 embedded circuits.To secure the digital analogic, it can be accessed in the Bulk package.The pentometer consists of 32 positions.As a result, digital potentiometer has been designed to terminate at 8.1 functions are included in this programmable potentiometer for your reference.In The case, the total resistance of the speed potentiometers will be 10000Ohm.The performance of this product is a result of 3V.Limiting the flow with 10kOhm is possible.A mount of Surface Mount is used for digital potentiometer.The potentiameter has a total of 8 pins.A converter can be classified as DIGITAL POTENTIOMETER based on its type.In a 5V supply voltage, potentiometers conduct.Keeping the value at 70°C ensures that the digital resistor runs continuously.The system requires a minimum operating temperature of 0°C to maintain reliability.A family of pentometer is Digital Potentiometers.There is a maximum voltage limit of 5.5V for the supply.The minimum supply voltage is 3V, so it can work with any voltage.In order to perform at its best, the supply current needs to be operated at 1mA.
X9313WMZ-3 Features
Available in MSOP package
1 Circuits
8 pins
Operate supply voltage at the range of 5V
X9313WMZ-3 Applications
There are a lot of Intersil (Renesas Electronics America)
X9313WMZ-3 Digital Potentiometers applications.
- Medical equipment
- Refrigerator
- Programmable computer
- Power supply
- Power meter
- Automatic detection of equipment
- Optic fiber network
- Adjusting the LCD Display
- Voltage control
- Replaces mechanical potentiometers
User Guide
Please verify all part numbers, quantities, and packaging preferences before placing your order. If substitutions are acceptable, please indicate this clearly. For time-sensitive projects, confirm estimated delivery dates and stock availability in advance. Once submitted, changes or cancellations may not be possible, especially for items marked as non-cancellable/non-returnable (NCNR). For international shipments, please ensure all import documentation is complete and accurate to avoid delays.
MEANS OF PAYMENTFor your convenience, we accept multiple payment methods in USD, including PayPal, Credit Card, and Wire Transfer. Net terms may be available for qualified customers upon approval.
RFQ (REQUEST FOR QUOTATIONS)Please ensure the part numbers and quantities are accurate and complete when submitting your RFQ.
Provide target prices and acceptable alternatives, if any, to speed up the quotation process.
Quotations are subject to stock availability and may vary with market conditions. Prices and lead times are not guaranteed until a purchase order is confirmed. Ensure your contact details are correct to avoid delays in response.

Step1:Prepare product

Step2:Desiccant Protection

Step3:Vacuum Packaging

Step4:Individual Package

Step5:Anti-collision Filling

Step6:Packaging Box
1. Shipping starts at $40, but some countries will exceed $40. For example (South Africa, Brazil, India, Pakistan, Israel, etc.).
2. Some specific products need to reach the minimum order quantity.
3. It may cost additional remote fees for delivery if you are in a remote area.
Currently, our products are shipped through DHL, FedEx, SF, and UPS.
DELIVERY TIME1. Once the goods are shipped, estimated delivery time depends on the shipping methods you chose: FedEx International, 5-7 business days.
2. For in-stock parts, orders normally could be shipped out within 1-2days.
X9313WMZ-3 Relevant information
The following parts are popular search parts in Integrated Circuits (ICs).
AIChipLink – Your Trusted Electronic Components Distributor
12.28 M
Listed Part Number3,000+
Leading Manufacturers4.9 M
In-stock SKU15,000+
Warehouse Area(㎡).png&w=256&q=75)








